AMH 社区首页
AMH社区 - 开放自由有价值的社区
|
|
|---|---|
|
eyy88 |
eyy88 发表于 2015-12-06 17:15:34
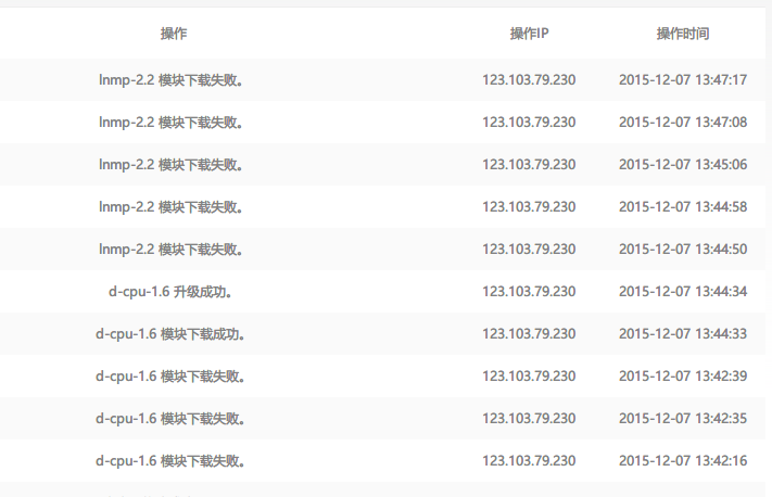
5.2版本所有模块下载都失败是什么原因啊?模块更新也失败
2015-12-06 17:15:34 1
|
|
molinxx |
amh.sh主机解析失败,10余台服务器只有个别能够成功下载到LNMP2.2的更新,全新安装AMH5.2失败~
回复
2015-12-06 18:10:10 2
|
|
z069 |
本帖最后由 z069 于 2015-12-7 15:34 编辑
更新解决方法: 编辑etc/resolv.conf, 将原有的 8.8.8.4 8.8.4.4 改成DNSPOD和百度的DNS解析 119.29.29.29 180.76.76.76 更新正常了 QQ截图20151207135511.png
回复
2015-12-07 14:07:42 3
|
|
wang3532429 |
我也是。现在lamp无法升级也无法使用。
回复
2015-12-07 14:44:59 4
|
|
amysql |
回复
2015-12-15 13:28:34 5
AMH面板 - 国内首款开源主机面板 / 安全稳定轻量纯净 |
|
sky082 |
回复
2016-01-15 08:50:19 6
|
|
amysql |
echo -e "options timeout:1 attempts:1 rotate\nnameserver 8.8.8.8\nnameserver 114.114.114.114" >/etc/resolv.conf; 执行可以直接修改。
回复
2016-01-15 10:43:01 7
|
HTTPS
[求助帖]
amh5.2所有模块下载失败

